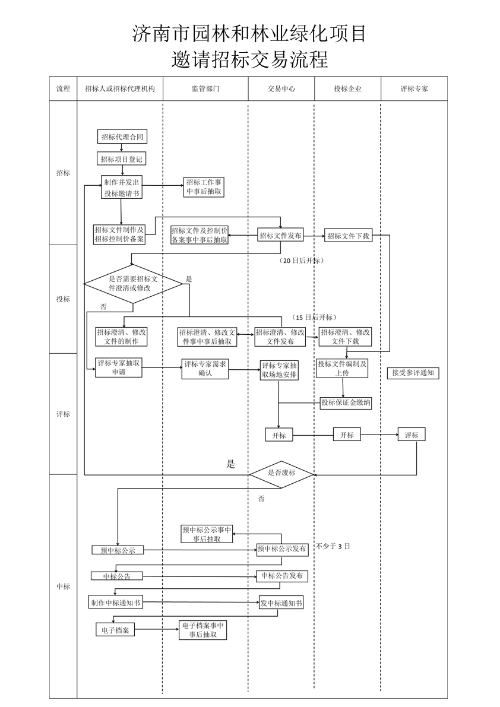
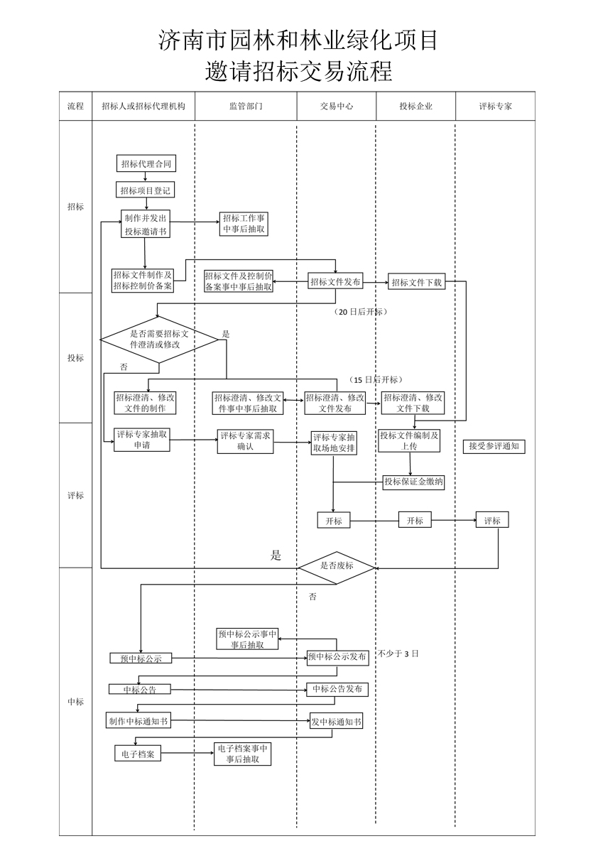
济南市园林和林业绿化项目邀请招标交易流程

发布日期:2021-08-18 09:38